近日,商学院旅游管理系肖建红教授团队在Current Issues in Tourism杂志(SSCI一区)发表题目为“Do policy changes influence respondents’ willingness to pay for tourism resources?”的重要研究成果,肖建红教授为论文第一作者兼通讯作者,李万紫研究生(已毕业)、王敏博士和王明卓副教授为论文的合作者,青岛大学为独立单位。
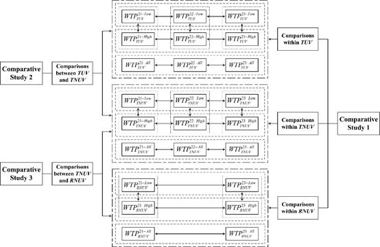
政策变化如何影响人们的预期,这是经济学领域较难解决的一个重要问题。当社会面临公共卫生危机、经济衰退和其他危机等冲击时,政府通常会实施一系列监管政策来减轻其影响。然而,很少有研究考察监管政策变化对受访者支付意愿(Willingness to Pay,WTP)的影响。2021年至2023年,中国为应对新冠肺炎危机,实施了三项截然不同的防控政策(即2021年相对较为温和、2022年相对较为严格、2023年完全放开),为研究这一问题提供了自然实验场景。本研究以庙岛群岛为案例地(图1),选择海洋号子——长岛渔号国家级非物质文化遗产为研究对象,基于2021年、2022年和2023年游客和居民收集的8组独立调查数据、3024份有效非零问卷,建立比较分析研究框架(图2),采用条件估值法(Contingent Valuation Method)和效益函数转移法(Benefit Function Transfer Method)来检验防控政策变化对受访者保护旅游资源支付意愿(WTP)的影响。本研究的主要贡献:在防控政策变化(自然实验场景)视角下,揭示了游憩价值(使用价值)与非使用价值变化的差异、游客受访者与居民受访者偏好变化的异质性和高保护意愿受访者与低保护意愿受访者偏好变化的不同(图3—图8)。研究结果为危机管理背景下,如何恢复旅游资源经济价值提供了重要的参考依据。

Figure 1. Maps of the study area.

Figure 2. Research framework.

Figure 3. The trend of WTP for TUV.

Figure 4. The trend of WTP for TNUV.

Figure 5. The trend of WTP for RNUV.

Figure 6. Recovery Percentage of TUV.

Figure 7. Recovery Percentage of TNUV.

Figure 8. WTP values of total samples.